Nissan Patent Could Bring Lithium-Oxygen Batteries Closer To Production


Nissan may be edging closer to the next big leap in electric vehicle battery technology. Two new patent filings hint that its engineers are working on lithium-oxygen batteries—a promising but notoriously difficult chemistry that could drastically increase energy density and extend EV range. Let’s see how close Nissan is actually getting.

Nissan’s New Battery Breakthrough Explained

Lithium battery pat
Lithium battery pat
Nissan 

The patents, uncovered by our friends at CarBuzz, describe a pair of related innovations that tackle some of the biggest challenges in lithium-oxygen battery design.

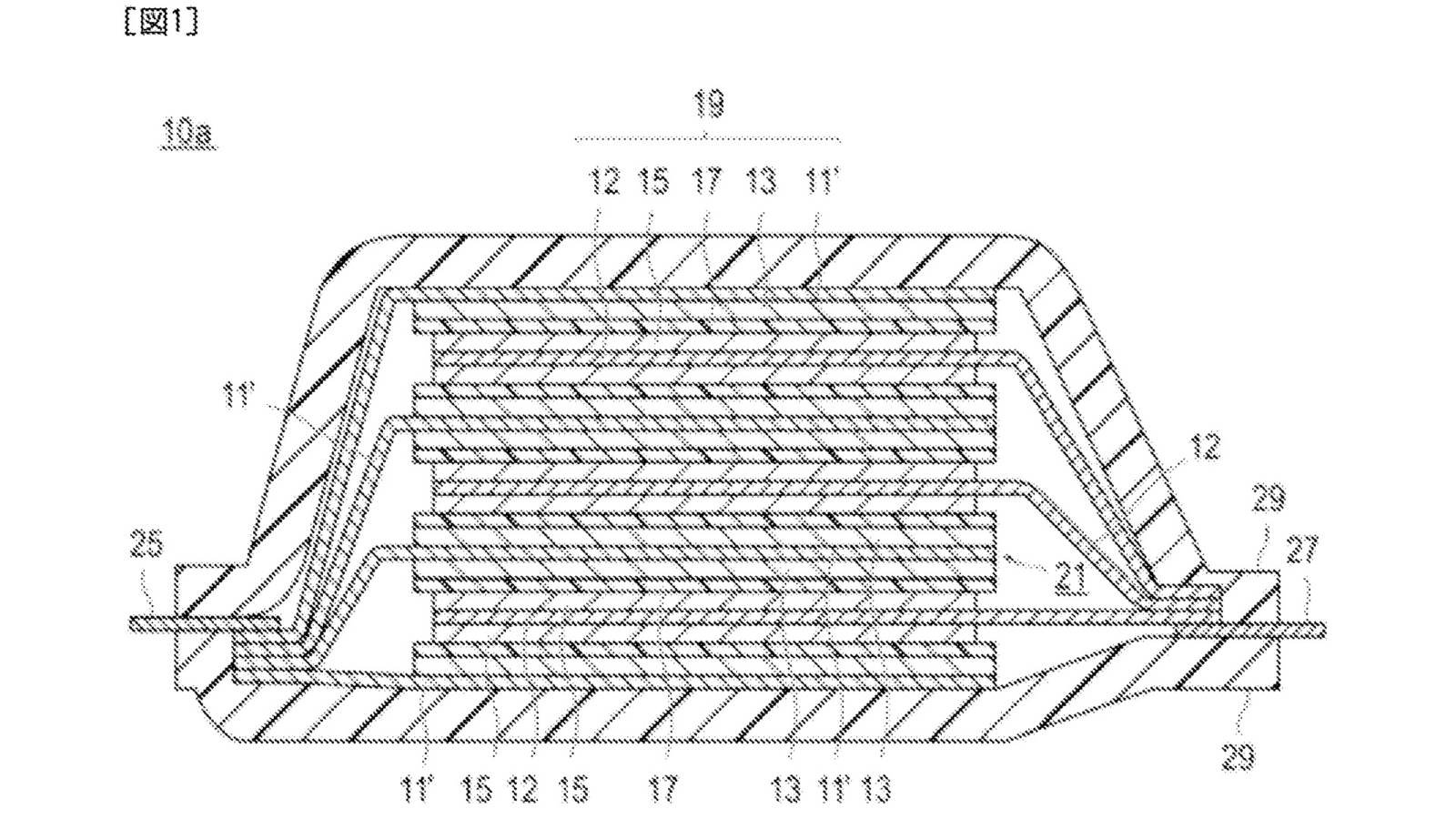
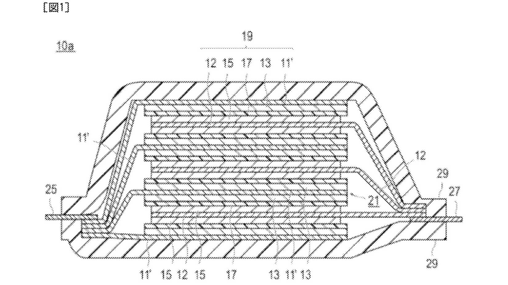
Ok, just hang with me for a second, this is a little heady. The first patent describes a new type of electrode that uses a layer of lithium oxide, a catalyst, and a gel-forming polymer (a polymer is a large molecule made by joining many smaller molecules called monomers together in a long chain) applied over a collector and electrolyte. In simpler terms, it’s a sealed-cell approach designed to control oxygen interaction and prevent the bad kinds of reactions that typically shorten a battery’s life.

The second patent goes one step further by targeting the issue of gas generation during charging. Traditional lithium-oxygen cells can produce excess oxygen gas when pushed to their limits, which permanently reduces capacity. Nissan’s solution? A special polymer coating—made from materials like polypropylene oxide (PPO), polyacrylonitrile (PAN), or polystyrene—that acts like a buffer of sorts. This branched polymer suppresses gas formation, stabilizing the electrode and allowing the cell to charge closer to its theoretical maximum.

If it works like Nissan thinks it will, this could solve one of the biggest headaches holding lithium-oxygen batteries back from real-world use.

Why Lithium-Oxygen Batteries Could Change EVs

2026-nissan-leaf-exterior-static-6.jpg
2026 Nissan Leaf
Nissan

The excitement around lithium-oxygen batteries isn’t new. Theoretically, they can deliver up to five times more energy density than current lithium-ion batteries, meaning lighter packs, longer range, and potentially cheaper electric cars. But they’ve remained impractical due to issues with heat, degradation, and short lifespans.

Nissan’s patents suggest its engineers are finding creative ways to mitigate those weaknesses—possibly combining this tech with the company’s existing work on solid-state batteries, which are expected to debut around 2028. If lithium-oxygen chemistry can be made stable enough for production, it could outpace even solid-state cells—in which competitors like Toyota have invested heavily—in performance and efficiency.

However, it’s worth noting that patents don’t guarantee a production model. Automakers frequently file patents to protect future ideas or hedge their R&D investments. Nissan, like many others, could be laying the groundwork for long-term breakthroughs rather than announcing a near-future launch.

The Road Ahead For Nissan’s Battery Innovation

2024_ariya_image1-2.jpg
2024 Nissan Ariya Front Angle Charging
Nissan 

While there’s no timeline for production, these patents confirm that Nissan is exploring advanced battery chemistries with serious intent. The company has already committed billions toward battery research under its Ambition 2030 strategy and plans to roll out solid-state pilot production in the next few years.

If these lithium-oxygen concepts progress beyond the lab, they could lead to EV batteries that are lighter, more powerful, and faster to recharge—potentially giving Nissan a major advantage in the next wave of electric vehicle competition.

Until then, the patents show one clear thing: Nissan’s engineers aren’t standing still. Even as the brand works to modernize its lineup, it’s also reaching far beyond the current limits of battery science—pushing closer to the day when long-range, affordable EVs are the norm rather than the exception.